Descrizione
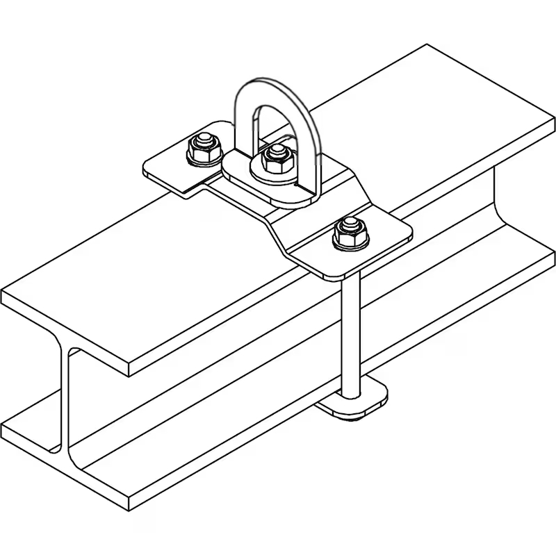
– Dispositivo di ancoraggio A02A autoallineante per supporti
ad alta resistenza meccanica, Tipo A-360 in acciaio INOX AISI 304, altezza 2 cm.
– Utilizzabile come terminale principale o di deviazione caduta. La piastra di fissaggio è sagomata in modo da dissipare mediante deformazione controllata parte del carico di caduta.
– Il fissaggio del dispositivo deve essere effettuato con 2 barre filettate INOX A2 M12 o equivalenti utilizzando gli appositi fori asolati. Il componente è dotato di golfare autoallineante. La base del golfare è a 2,2 cm dal piano di posa.
– Il componente è certificato per il Tipo A secondo la norma UNI 11578:2015 per i dispositivi di ancoraggio destinati all’installazione permanente.









Recensioni
Ancora non ci sono recensioni.